中國粉體網訊 近日,中鋼熱能院在石灰豎窯研發領域取得重大突破,研發出國內首套塊粉分離塔式結構,填補了國內在高粉化率原料焙燒技術方面的空白。
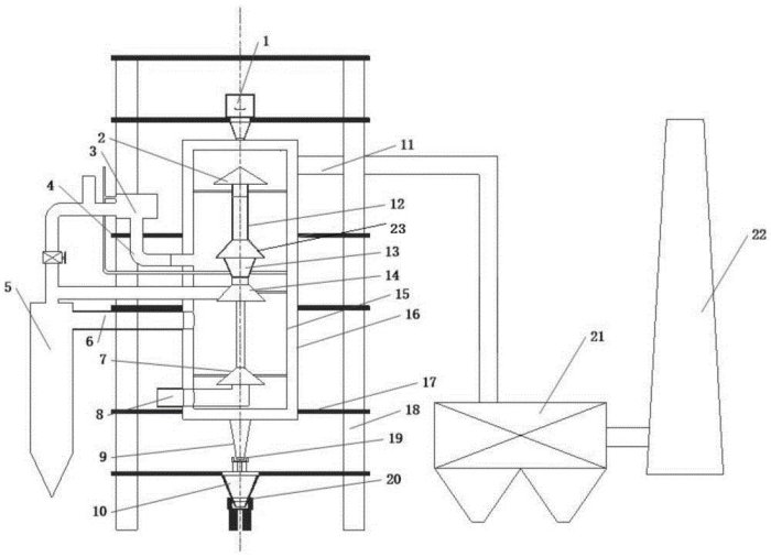
這是“一種高效環保的塔式混燃輕燒鎂豎窯及其生產工藝”,在豎窯爐體內外分別設置內燃燒室和外燃燒室,從內外燃燒室產生的高溫煙氣同時從豎窯爐體中心區域和周邊區域與下落的物料進行熱量交換,提高能量利用效率,降低非金屬礦物輕燒產生的環保問題,同時采用塔式結構易于平衡受力,提高爐窯壽命。

基于這一突破性成果,中鋼熱能院與建龍西林鋼鐵有限公司達成深度合作,成功簽約200噸/天塔式復熱石灰豎窯總承包工程合同。

據技術負責人介紹,該技術已在建龍西林鋼鐵項目中實現產業化應用。項目投產后,石灰豎窯生產效率提升30%以上,單位產品能耗降低25%,同時減少了窯內積灰和停機維護頻次,顯著降低了企業運營成本。此外,該技術突破了對高品位石灰石資源的依賴,拓寬了原料選擇范圍,為冶金行業資源綜合利用提供了新路徑。
(中國粉體網編輯整理/昧光)
注:圖片非商業用途,存在侵權告知刪除!



















