中國粉體網訊 近日,證監會官網披露了成都超純應用材料股份有限公司(以下簡稱“成都超純”)首次公開發行股票并上市輔導備案報告,成都超純正式拉開A股IPO籌備工作的帷幕。

聚焦三大業務:半導體零部件、先進陶瓷、精密光學
資料顯示,成都超純成立于2005年,是一家以技術為先導的半導體設備零部件、精密光學和先進陶瓷的國家高新技術制造企業。

半導體零部件方面,成都超純從最核心的刻蝕、成膜、擴散和外延設備所涉及的核心零部件產品入手,在真空沉積理論、熱場分析、精密加工,精密檢測及精密機械結構設計等多個復雜的交叉領域,積累了大量的設計和制造經驗。公司掌握了涉及到第二代和第三代半導體必須要用到的電感耦合等離子體刻蝕設備耐刻蝕膜層技術,電容耦合等離子體刻蝕設備耐刻蝕膜層技術,氣相沉積碳化硅CVD-SiC材料技術等。
在精密光學領域,成都超純提供光學器件的冷加工和鍍膜服務,能夠為客戶提供大多數形狀元件的精密成型和超精密加工,多品種、超光滑表面及面型控制是其在光學器件部門的主要特色。
先進陶瓷領域,公司掌握了高密度碳化物和氮化物陶瓷制備技術。成都超純可根據客戶要求提供高達99.5%純度的高密度氮化硼陶瓷;其采用化學氣相沉積制備的碳化硅材料用于自家碳化硅涂層石墨基座等產品的開發生產,服務于半導體設備行業。此外,其陶瓷產品還有SiC輕質鏡,SiC晶舟等。

SiC輕質鏡
據成都市科學技術局相關公示顯示,成都超純的“透明陶瓷制造技術及裝備”項目入選《2025年成都市第二批國家科技計劃項目配套資助擬立項項目名單》,該項目致力于高品質透明陶瓷材料的研發與生產,能夠打破國外專利技術封鎖,批量制備出具有優異性能的透明陶瓷材料,滿足不同領域的高端應用需求。
比亞迪、中微等龍頭參股
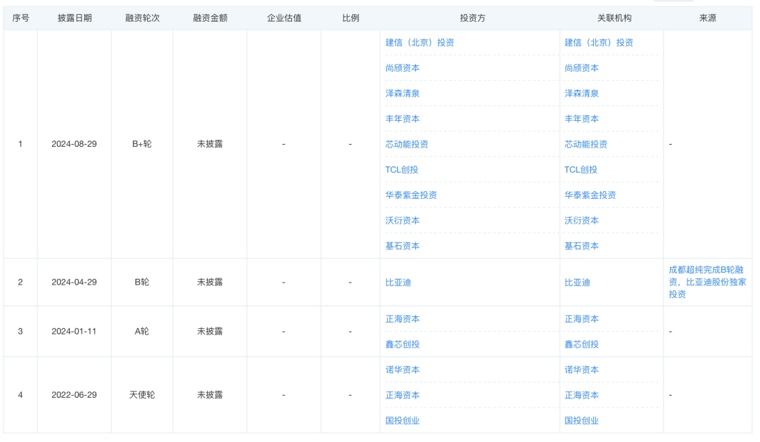
成都超純目前已完成了四輪融資。
2022年6月29日,在天使輪融資中,成都超純獲得北京集成電路裝備產業投資并購基金(有限合伙)、國投(廣東)科技成果轉化創業投資基金合伙企業(有限合伙)、中微半導體設備(上海)股份有限公司等投資方支持,為公司的早期技術研發與業務拓展注入了關鍵動力。

2024年,公司一年進行了A輪、B輪、B+輪三輪融資,正海資本、鑫芯創投、比亞迪、基石資本、沃衍資本、華泰紫金投資、TCL創投、芯動能投資、豐年資本、澤森清泉、尚頎資本、建信(北京)投資等投資方參與其中。其中,比亞迪獨家投資了公司的B輪融資。
截至2025年5月30日,成都超純注冊資本增長至7638.46萬元。
參考來源:創投日報、四川雙流經濟開發區、半導體產業網、企業官網
(中國粉體網/山川)
注:圖片非商業用途,存在侵權告知刪除
















