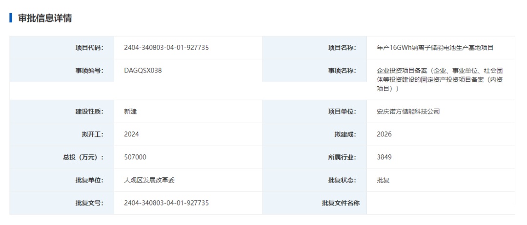
中國粉體網訊 4月16日,“年產16GWh鈉離子儲能電池生產基地項目”獲大觀區發展改革委批復,該項目由安慶諾方儲能科技有限公司投資,項目總投資50.7億元,預計將在2024年開工,2026年建成投產。

此前4月1日,大觀區委書記潘功發主持召開大觀區招商引資工作領導小組2024年度第三次會議,會議研究審議了年產16GWh鈉離子儲能電池等5個項目。
資料顯示,安慶諾方儲能科技有限公司成立于2024年4月8日,注冊資本1000萬元,是諾方國際集團旗下公司,其中深圳諾方新能源持股70%、廣西諾方儲能持股20%、上海璞濯企業管理合伙企業(有限合伙)持股10%。
諾方國際集團成立于2006年,起步于磷酸鐵、磷酸鐵鋰的研發生產及銷售,現已發展為電池材料、電芯生產、電池制造、儲備應用為一體的全產業鏈新能源控股集團。諾方目前在國內擁有兩個研發中心(廣西南寧、廣東深圳)、四大生產基地(廣西南寧、云南曲靖、四川攀枝花、山西忻州)。
在鈉電領域,諾方集團早有布局。2023年5月,深圳諾方新能源投資成立了全資子公司“莫鈉技術”,專注于鈉電領域材料研發、電芯生產、電池應用。同年7月,莫鈉技術與浙江禾美就鈉離子電池在新能源商用貨車領域的應用達成合作;8月,莫鈉技術與深圳市春藤物聯就鈉離子電池在兩輪車換電領域的應用達成合作,并交付了第一批搭載鈉離子電芯的48V20Ah兩輪車專用電池組。
據了解,深圳諾方新能源作為新能源服務解決方案提供商,業務范圍覆蓋全國及歐洲、東南亞等海外市場。產品、解決方案、投資運營與服務涉及新能源材料、產品、系統集成、EPC方案四大領域,可以提供光伏和儲能系統方案,并承擔分布式光伏和大型儲能電站EPC業務,此外還致力新材料應用與推廣研發和生產。
廣西諾方儲能則成立于2012年2月,是一家鋰電子電池材料產品研發商,核心業務集中在清潔能源領域的電池材料及其電池產品的研發,生產和銷售。2018年8月,諾方儲能獲得了青藍投資、深創投投資的戰略融資;2022年12月獲得了青藍投資、大亞灣創新投資、盛世景投資的股權融資。公司目前的生產規模為年產6萬噸電池級磷酸鐵鋰前驅體,并積極布局磷酸鐵鋰正極材料,規劃電池級磷酸鐵產能規模達到8.5萬噸。
諾方母公司為波士頓環球科技(香港)有限公司,從事新能源行業投資及技術研發,還在美國波士頓設立研發中心,即波士頓環球科技(美國)有限公司;在德國設立銷售總部,即諾方新能源(德國)有限公司,核心業務為ESS儲能系統銷售與服務,服務德語區以及歐盟內,工業廠房BIPV,以及家庭UPS;在深圳設立深圳運營中心,即深圳諾方新能源科技有限公司;在廣西設立生產總部,即廣西諾方儲能科技有限公司,并在廣西南寧、四川攀之花、云南曲靖、山西忻州設有大型生產工廠。
(中國粉體網編輯整理/喬木)
注:圖片非商業用途,存在侵權告知刪除!
















