企業介紹
江蘇奧杰環?萍加邢薰疚挥谟兄碍h保建材之鄉”的江蘇鹽城,公司堅持以科技創新為發展源動力,為客戶提供成套設備生產線及技術服務。長期致力于石英砂、鉀長石、硅微粉及油田壓裂砂專用設備的生產和提供非金屬礦生產線的實驗、設計、咨詢及整線供貨。專業為客戶提供場地規劃、工藝設計、工程總包、單機生產和技術服務!
公司產品廣泛應用于化工、冶金、建筑、礦石、礦粉、工業塑料等行業。主要生產制造產品有:立式板材砂生產線、石英砂生產線、石油壓裂砂生產線、機制砂生產線、工業煙氣廢氣處理、砂石烘干選粉設備、粉塵除塵設備和篩分設備等。
江蘇奧杰環?萍加邢薰緦W⒂谏笆驳V的深加工技術及產品的研發、生產、銷售。竭盡全力為建造和工業分選領域的客戶提供更智能、更高效、更全面的建材環保設計方案。江蘇奧杰環保始終恪守“技術為先、誠信為本、服務至上”的經營理念,愿與各界人士攜手并進,共創美好未來。歡迎各界朋友蒞臨指導、業務洽談。

部分產品介紹
1.LQM氣箱脈沖布袋除塵器

LQM氣箱脈沖布袋除塵器是我司在原有技術基礎上,吸收了國內同類產品的技術優點,結合客戶現場實情研制開發的新型高效袋式除塵設備,它集分室反吹和噴吹脈沖袋式除塵器的優點為一體,避免了分室反吹的清灰動能不足,噴吹脈沖的清灰與過濾同時進行的缺陷,擴大了袋式除塵器設備的應用范圍。具有清灰能量大,清灰效果好,系統阻力低,濾袋使用壽命長,除塵效率高等特點。
2.DM大型行噴脈沖袋式除塵器

DM大型行噴脈沖袋式除塵器綜合了分室反吹和脈沖噴吹清灰等諸類除塵器的優點,避免了分室反吹清灰強度不夠、脈沖噴吹清灰與過濾同時進行會產生粉塵再吸附現象的缺點,具有占地面積小、運行穩定、濾袋使用壽命長、除塵效率高、維修方便等特點,廣泛應用于水泥、鋼鐵、電力等行業的大型除塵設備。
3.高效渦流選粉機

高效渦流式選粉機是采用航空空氣動力學分析方法與高?蒲性核摵涎兄崎_發成功的新產品。該產品整合了0-Sepa選粉機的平面渦流式分級原理及旋風除塵的成品收集方法,使三分離渦流直籠高效選粉機具有很高性價比,為三分離高效渦流式選粉機推廣使用奠定了良好的基礎,三分離高效渦流式選粉機系統配置簡單,工藝布置靈活,選粉效率特高,節能效果顯著,是新形勢下水泥企業提高產品質量的新方法新途徑。自三分離高效渦流式選粉機推向市場后受到眾多水泥企業的一致好評,用戶收到很大的經濟效益。
4.不銹鋼三筒烘干機

不銹鋼烘干機具備普通三筒烘干機的功能,采用不銹鋼作為制作材料,可對一些特殊物料,如不能直接和鐵接觸等的物料進行烘干。不銹鋼烘干機運轉非?煽,操作彈性大、適應性強、處理能力大,廣范應用于冶金、建材、化工、洗煤、化肥、礦石、沙、粘土、高嶺土、糖等領域。
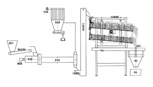
5.石油壓裂砂支撐劑烘干篩分生產線

石油壓裂支撐劑成套設備可滿足石油壓裂支撐劑產品的生產工藝要求?缮a抗破碎度為53Mpa 和69Mpa 常規產品,且可生產抗破碎度為86MPa及102MPa產品,徑粒0.2~0.9mm,符合Q/SH0051-2007標準要求。






















