中國粉體網訊 磷是地球上含量最豐富的元素之一,約占地殼中所有元素質量的0.1%。磷元素的同素異形體有紅磷、白磷、紫磷和黑磷,其中黑磷的性質最為穩定,反應活性最弱,它在空氣中不會燃燒。黑磷是用白磷在很高壓強和較高溫度下轉化而形成的。

圖1:黑磷晶體及其晶胞結構示意圖
黑磷的物理性質

黑磷的制備方法
高壓法
高壓法是最早用于黑磷制備的方法,1914年Bridgman開發出來的。實驗步驟:首先將白磷放入長約15cm、內徑1.5cm的圓柱型鋼制容器,然后將裝有白磷的容器放入裝有煤油的高壓裝置,并在室溫條件下加壓至0.6×109 Pa,隨后,將裝置加熱到200℃,壓力提升到1.2×109Pa,可得到黑磷。高壓法制備黑磷重復性較好,并且很短時間內就能實現紅磷到黑磷的轉化。但是其制備方法需要用到超高壓設備,一定程度上導致黑磷生產成本較高,不利于大規模商業化生產
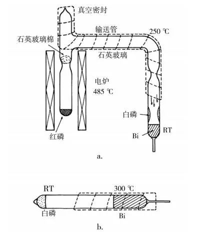
鉍熔化法
首先,在氬氣氣氛下將紅磷和鉍顆粒分別放在裝置左右兩邊,并進行抽真空密封處理(如圖 2a.所示);然后,對紅磷和鉍粉加熱處理,右端底部會形成鉍塊,上面則生成白磷,此時把裝置右端取下(如圖 2b.所示);最后,在300℃下加熱鉍,并將液鉍澆注到固體白磷上,把裝置放400℃環境下保溫48h,隨后降至室溫,用硝酸除去鉍,即可得到黑磷。

圖2:鉍熔化法制備黑磷裝置示意圖
礦化法
礦化法是近幾年開發的一種制備黑磷的方法。將Au、Sn、SnI4與紅磷按一定質量的比例混合,真空封裝在石英管中,加熱至一定的溫度并保溫一定的時間,即可得到黑磷,但最終產物中存在少量未轉化的紅磷及反應生成的金屬磷化物等雜質。但Au價格昂貴,SnI4有毒。后來研究者們發現直接以I、Sn、紅磷為原料在常壓下也能制備出黑磷,其具體步驟:將Sn、I和紅磷在氬氣氣氛下密封,經過程序升降溫處理,同樣制備出了黑磷。該制備方法不但不再使用昂貴且有毒的SnI4作為礦化劑,而且不再需要真空處理,因而簡化了制備工藝流程,成本大大降低,具有很好的工業化應用前景。
制備方法比較

黑磷未來發展前景
用類似制備石墨烯的方法,黑磷也可以得到黑磷烯。與黑磷相比,黑磷烯具有較高的比表面積、較好的機械性能及電學性能,黑磷和黑磷烯在鋰離子電池、鈉離子電池和超級電容領域都具有較好的應用前景。但是黑磷的致命缺陷是缺乏穩定性。當接觸水和氧氣時,黑磷片層會在極短時間內氧化進而降解。這一缺陷極大地限制了黑磷的研究和工業應用。高穩定性黑磷的成功制備,無疑可有效推動黑磷在光電器件等領域的工業應用,還將極大促進其在能源、催化、生物醫學等領域的深入研究。





















